IT之家 7 月 3 日消息,根据美国商标和专利局最新公示的清单,苹果公司获得了一项 Apple Pencil 的专利,探索了模块化设计方案,用户未来可以根据自身需求或者使用场景,随心更换 Pencil 的模块,达到不同的效果。

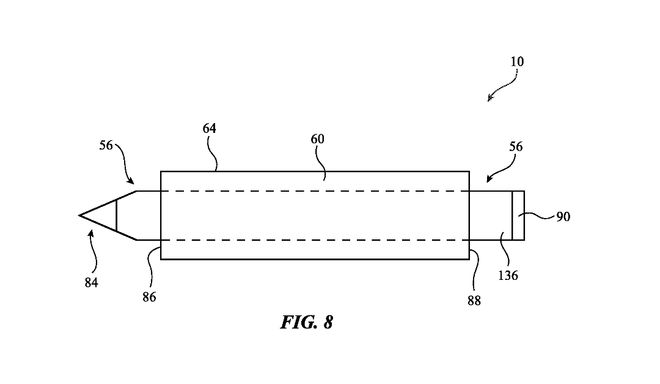
苹果在专利中表示笔套内置传感器和导体,可以连接手写笔上的触控传感器电路实现互联。
笔套可以配备变形部件,用于将笔套PG电子官方网站 PG电子网址上的力转换到触控笔的力敏尖端;以及结合外部摄像头检测到的视觉标记,并与触控笔的运动传感器数据一起用于跟踪手持输入设备。

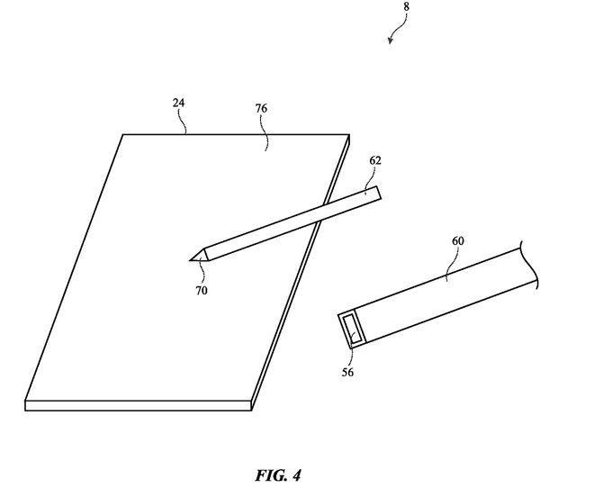
根据专利描述,如果用户可以通过切换不同的笔套,为 Apple Pencil 定制不同的功能,例如增强控制、添加新的传感器或者延长续航表现等等。

而且该笔套未来可以扩展到非 Apple Pencil 产品中,专利中介绍了将其套进叉PG电子官方网站 PG电子网址子中,可以通过安装运动传感器来检测人们进食的速度,甚至可以辅助计算食入的卡路里。IT之家附上图片如下:

